IT
news
- Новости Информационных Технологий
В Nvidia говорят, что Tegra 5 будет производительнее приставок PS3 и Xbox 360
Dospara Arumas T-11 – мощный ноутбук с сенсорным дисплеем
Продукты Silicon Power отмечены наградой Red Dot Design Award 2013
Понедельник, 9 февраля 2026 г.
Новости
Аналитика
Интервью
Обзоры
Фотогалереи
Wi-Fi
Фотоновости
Форум
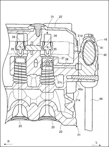
Suzuki готовит анонс системы VVT для Suzuki V-Strom 1000
26 марта 2015, 5:30, Сергей Решодько, ITnews
Согласно новым патентам, опубликованным в Японии, компания Suzuki разрабатывает систему изменения фаз газораспределения для двигателя V-Strom 1000.
Подписка
на новости информационных технологий
Получить код для блога
<p><a href="http://itnews.com.ua/pg/1210.html"><img src="http://i.itnews.com.ua/ng/13/1210.jpg" border="0"></a></p><p><a href="http://itnews.com.ua/pg/1210.html"><b>Suzuki готовит анонс системы VVT для Suzuki V-Strom 1000</b><br>Согласно новым патентам, опубликованным в Японии, компания Suzuki разрабатывает систему изменения фаз газораспределения для двигателя V-Strom 1000.<br><i>Сергей Решодько, ITnews.com.ua</i></a></p>
Код для вставки в форум (BBCode)
[url=http://itnews.com.ua/pg/1210.html][img]http://i.itnews.com.ua/ng/13/1210.jpg[/img][/url] [url=http://itnews.com.ua/pg/1210.html][b]Suzuki готовит анонс системы VVT для Suzuki V-Strom 1000[/b] Согласно новым патентам, опубликованным в Японии, компания Suzuki разрабатывает систему изменения фаз газораспределения для двигателя V-Strom 1000. [i]Сергей Решодько, ITnews.com.ua[/i][/url]
Смотрите также темы:
Главная страница
Фотогалереи
Официально представлен седан Jaguar XF нового поколения
26 марта 2015, 6:15
Публичная премьера четырехдверки состоится 2 апреля на моторшоу в Нью-Йорке, а ее продажи стартуют осенью нынешнего года.
Google предлагает оснащать робомобили наружными подушками безопасности
26 марта 2015, 5:55
Управление США по патентам и торговым маркам (USPTO) выдало Google патент на "систему защиты ног пешехода при ударе автомобилем".
"Живые" фото "заряженного" Cadillac ATS
26 марта 2015, 5:10
Продажи нового Cadillac ATS-V должны стартовать в США в ближайшее время. Цены на седан будут начинаться от 61 тысячи 460 долларов, а купе обойдется минимум в 63 тысячи 660 долларов.
На планшет Nexus 10 уже поступают OTA-обновления с Android 5.1
25 марта 2015, 9:46
Вслед за смартфонами Nexus 5 и 6 новую прошивку LMY47D получил планшет Samsung Nexus 10, выпущенный ещё в 2012 году.
Последние новости:
5 апреля 2013, 13:02
Canon выпускает новые видеокамеры XA25, XA20 и LEGRIA HF G30
5 апреля 2013, 12:35
Анонс Samsung Galaxy Ace 3 состоится летом
5 апреля 2013, 11:51
Xiaomi M2S будет анонсирован в сети China Telecom
5 апреля 2013, 11:37
Китайская Baidu готовит аналог Google Glass
5 апреля 2013, 11:16
В этом году Samsung продаст не менее полумиллиарда смартфонов
5 апреля 2013, 10:54
Обновленный Google Nexus 7 выйдет в июле
5 апреля 2013, 10:38
Samsung готовит смартфон Galaxy Win (GT-I8552) с поддержкой dual-SIM
5 апреля 2013, 10:11
Подробная информация о Samsung Galaxy Star и Samsung Pocket Neo
5 апреля 2013, 9:49
В Сети появились качественные изображения нового смартфона Facebook
4 апреля 2013, 12:57
Oracle анонсирует Oracle Event Processing for Oracle Java Embedded
4 апреля 2013, 12:19
ВОЛЯ в несколько раз ускорила Интернет в Запорожье, Кировограде и Черновцах
4 апреля 2013, 12:05
"Билайн" объявляет результаты развития сетей в Московском регионе за I квартал 2013 года
4 апреля 2013, 11:41
ТМ Fly начинает поставки смартфона Fly IQ451 Vista
4 апреля 2013, 11:19
В Nvidia говорят, что Tegra 5 будет производительнее приставок PS3 и Xbox 360
4 апреля 2013, 10:55
Sony прекратит поддержку своих смартфонов на базе чипа NovaThor U8500
Еще свежих новостей...
Фотоновости
Еще фотоновостей!
Главная
Новости
Аналитика
Интервью
Обзоры
Фотогалереи
Wi-Fi
Фотоновости
Форум
Copyright © 2005-2012
IT
news
Любое использование материалов, опубликованных на ITnews,
разрешается только в случае указания гиперссылки на
ITnews.com.ua
О нас
|
Прислать новость
|
Экспорт новостей
|
Подписка на новости
|
Реклама