IT
news
- Новости Информационных Технологий
В Microsoft пересмотрели минимальные требования к разрешению экрана планшетов под Windows 8
Samsung Galaxy SIII в фиолетовом корпусе будет продаваться только в сети оператора Sprint
Fly DS106 – новая доступная модель телефона от TM Fly
Среда, 18 марта 2026 г.
Новости
Аналитика
Интервью
Обзоры
Фотогалереи
Wi-Fi
Фотоновости
Форум
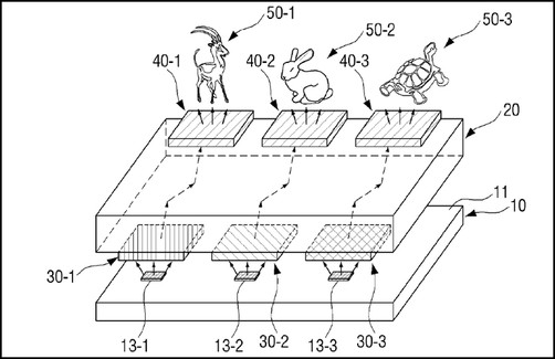
В Samsung придуман мобильный дисплей с голографическими пиктограммами
13 августа 2015, 5:01, Сергей Решодько, ITnews
Управление США по патентам и торговым марках (USPTO) рассекретило очередное изобретение Samsung в области мобильных устройств.
Подписка
на новости информационных технологий
Получить код для блога
<p><a href="http://itnews.com.ua/pg/2420.html"><img src="http://i.itnews.com.ua/ng/25/2420.jpg" border="0"></a></p><p><a href="http://itnews.com.ua/pg/2420.html"><b>В Samsung придуман мобильный дисплей с голографическими пиктограммами</b><br>Управление США по патентам и торговым марках (USPTO) рассекретило очередное изобретение Samsung в области мобильных устройств.<br><i>Сергей Решодько, ITnews.com.ua</i></a></p>
Код для вставки в форум (BBCode)
[url=http://itnews.com.ua/pg/2420.html][img]http://i.itnews.com.ua/ng/25/2420.jpg[/img][/url] [url=http://itnews.com.ua/pg/2420.html][b]В Samsung придуман мобильный дисплей с голографическими пиктограммами[/b] Управление США по патентам и торговым марках (USPTO) рассекретило очередное изобретение Samsung в области мобильных устройств. [i]Сергей Решодько, ITnews.com.ua[/i][/url]
Смотрите также темы:
Главная страница
Фотогалереи
WalkCar: необычный электроскутер, похожий на ноутбук
13 августа 2015, 5:41
Японская компания Cocoa Motors собирается вывести на рынок очень необычное персональное транспортное средство под названием WalkCar.
Спорткар Chevrolet Corvette взломан при помощи SMS
13 августа 2015, 5:20
Концепция атаки основана на задействовании оборудования сторонних производителей. В данном случае нападение осуществлялось через так называемый сканер OBD-II.
Известны характеристики процессоров Intel Skylake-U
13 августа 2015, 4:36
Семейство процессоров Intel, базирующихся на микроархитектуре Skylake, пока состоит всего из двух моделей — Core i7-6700K и Core i5-6600K.
Гибрид Audi A3 Sportback e-tron оценён в 38 000 долларов США
11 августа 2015, 9:06
Компания Audi назвала цену гибридного автомобиля A3 Sportback e-tron, продажи которого стартуют в октябре нынешнего года.
Последние новости:
5 апреля 2013, 13:02
Canon выпускает новые видеокамеры XA25, XA20 и LEGRIA HF G30
5 апреля 2013, 12:35
Анонс Samsung Galaxy Ace 3 состоится летом
5 апреля 2013, 11:51
Xiaomi M2S будет анонсирован в сети China Telecom
5 апреля 2013, 11:37
Китайская Baidu готовит аналог Google Glass
5 апреля 2013, 11:16
В этом году Samsung продаст не менее полумиллиарда смартфонов
5 апреля 2013, 10:54
Обновленный Google Nexus 7 выйдет в июле
5 апреля 2013, 10:38
Samsung готовит смартфон Galaxy Win (GT-I8552) с поддержкой dual-SIM
5 апреля 2013, 10:11
Подробная информация о Samsung Galaxy Star и Samsung Pocket Neo
5 апреля 2013, 9:49
В Сети появились качественные изображения нового смартфона Facebook
4 апреля 2013, 12:57
Oracle анонсирует Oracle Event Processing for Oracle Java Embedded
4 апреля 2013, 12:19
ВОЛЯ в несколько раз ускорила Интернет в Запорожье, Кировограде и Черновцах
4 апреля 2013, 12:05
"Билайн" объявляет результаты развития сетей в Московском регионе за I квартал 2013 года
4 апреля 2013, 11:41
ТМ Fly начинает поставки смартфона Fly IQ451 Vista
4 апреля 2013, 11:19
В Nvidia говорят, что Tegra 5 будет производительнее приставок PS3 и Xbox 360
4 апреля 2013, 10:55
Sony прекратит поддержку своих смартфонов на базе чипа NovaThor U8500
Еще свежих новостей...
Фотоновости
Еще фотоновостей!
Главная
Новости
Аналитика
Интервью
Обзоры
Фотогалереи
Wi-Fi
Фотоновости
Форум
Copyright © 2005-2012
IT
news
Любое использование материалов, опубликованных на ITnews,
разрешается только в случае указания гиперссылки на
ITnews.com.ua
О нас
|
Прислать новость
|
Экспорт новостей
|
Подписка на новости
|
Реклама